美国专家介绍做好品牌保护工作的经验
20-4-16众所周知,无论是已经成功运营多年的成熟企业还是正处于起步阶段的初创企业,做好品牌的保护工作并以此来阻止他人侵犯到自己的商标权都是一件非常重要的事情。在向美国专利商标局(USPTO)提交商标申请之前,人们应该主动去了解和掌握相关的知识与信息,从而避免在日后陷入到恼人的纠纷之中。而本文就将着重介绍下申请人在美国开展商标注册工作的流程以及聘请专业商标代理律师的必要性。
来源:中国保护知识产权网微信
苹果获得可折叠屏幕专利 可用于iPhone或其他设备
20-4-16据CNN报道,美国专利商标局于当地时间周二宣布,授予苹果公司一项可折叠屏幕专利,该屏幕可以用在iPhone或其他设备上。在这项专利中,苹果呈现了一种配备屏幕和可弯曲(柔性)外壳的电子设备。苹果于2018年1月提交了可折叠屏幕专利申请,它只是苹果围绕可折叠屏幕理念提出的众多专利之一。

据CNN报道,美国专利商标局于当地时间周二宣布,授予苹果公司一项可折叠屏幕专利,该屏幕可以用在iPhone或其他设备上。在这项专利中,苹果呈现了一种配备屏幕和可弯曲(柔性)外壳的电子设备。
苹果于2018年1月提交了可折叠屏幕专利申请,它只是苹果围绕可折叠屏幕理念提出的众多专利之一。
韦德布什证券公司(Wedbush Securities)分析师丹尼尔·艾夫斯(Daniel Ives)表示:“可折叠手机和5G技术代表着未来几年下一代智能手机的潮流。”
艾夫斯在接受采访时表示,苹果多年来始终在对可折叠手机持观望态度,直到2017年以来,有关苹果开发可折叠手机的传言才开始流传。苹果曾申请过柔性显示器的专利,这种显示器带有触摸传感器,可以像书那样打开和关闭。此外,苹果还申请了柔性iPhone专利,它可以对折并卡在人的衣服上。艾夫斯说,苹果的新专利非常重要。
艾夫斯认为,苹果最早可能在2020年末或2021年初推出可折叠智能手机。他说:“在可折叠手机方面,苹果远远落后于三星。但目前三星的Galaxy Fold不仅价格昂贵,还存在许多技术问题。”
不能忍!美国公司竟申请注册WUHAN CORONA VAX(武汉冠状疫苗)商标
20-4-163月25日,中国市场监管报记者从知识产权领域知名自媒体知产库方面了解到,有一家美国生物技术公司Moderna,早在1月27日,便向美国专利商标局(USPTO)申请注册4件商标,指定使用在药品等商品上。
WUHAN VAX
WUHAN MVAX
WUHAN CORONA VAX
WUHAN CORONA MVAX
记者随后登录USPTO官方网站查询,也查到了该公司申请注册的上述商标。




这4件商标都带有武汉的拼音缩写WUHAN字样。记者搜索后发现,VAX是一些疫苗名称使用的后缀或前缀,例如:


在商标局官方网站查询也可以看到一些带有VAX字样的商标,申请者多为医药公司。


CORONAVIRUS则是冠状病毒的英文。(不是那个科罗娜CORONA啤酒哈!!!)


因此,WUHAN CORONA VAX和WUHAN CORONA MVAX,翻译应该就是“武汉冠状疫苗”。
看到这里,不少人可能要问,申请人究竟是何方神圣?搜索结果显示,该公司是最早为COVID-19大流行提供可行的候选疫苗的美国公司之一,而且并非无名之辈。



第一张图片新闻报道的时间是1月24日,该公司申请注册商标的时间1月27日,也就是说,在开发疫苗没多久,公司就申请注册了这4件商标。
很多读者可能已经注意到,前段时间,商标局集中驳回了一批李文亮、火神山、雷神山等与疫情相关的不良影响商标。那么,这几件商标在美国商标法体系下是否会获得核准注册呢?
美国《商标法》(兰汉姆法)并没有与我国《商标法》第十条第一款第(八)项“不良影响”完全对应的条款,最接近的应该是第1052条——
(a)包含不道德、欺骗或诽谤性内容;含有对生者或死者、机构、信仰或国家象征有贬损或引起错误联想的内容,或包含使之蒙受鄙视或破坏其名誉的内容……

美国公司申请注册WUHAN CORONA VAX等商标是否属于“包含不道德、欺骗或诽谤性内容”,需要美国审查员以美国法的标准作出判断。
美国的商标审查周期在没有异议的情况下通常为8个月到1年的时间,因此短时间内上述商标还不会进入实质审查程序,所以无法很快知道这件商标是否会被驳回。如果USPTO没有驳回上述商标申请,在异议期内,相信也会有很多正义人士对其提出异议,阻止这样的商标注册成功。同时,随着疫情的发展,越来越多的全世界的人们包括美国人民都意识到,病毒是全人类的敌人,基于对病毒逐渐深入了解,USPTO最终核准这样的商标注册的可能性有但并不大。
中国外交部发言人耿爽表示,近来美国一些政客把新冠病毒同中国相联系,这是对中国搞污名化,我们对此强烈愤慨、坚决反对。耿爽强调,世界卫生组织和国际社会明确反对将病毒和特定的国家和地区相联系、反对搞污名化。我们敦促美方立即纠正错误,立即停止对中国的无端指责。

据美国有线电视新闻网(CNN)3月24日报道,特朗普在接受福克斯电视台(FOX)采访时表示,他决定不再使用“中国病毒”这一说法。“我决定不再用这一点大做文章了。”(I decided we shouldn't make any more of a big deal out of it)特朗普说道。
美国总统都已经“不再用这一点大做文章了”,如果USPTO核准上述商标注册,使其获得美国法律保护,无疑是用法律手段将这种污名化的行为予以确认,这是我们绝不希望看到的。希望这家美国公司认识到,这样的商标申请行为严重伤害中国人民感情,能够主动撤回商标申请。
来源:中国市场监管报
费列罗巧克力想把16粒装透明盒子注册成商标,能行么?
20-4-153月31日,北京知识产权法院线上公开开庭审理了“FERRERO ROCHER及图”商标(简称诉争商标)商标申请驳回复审行政纠纷一案。

2018年3月22日,费列罗公司在第30类巧克力等商品上申请注册诉争商标。
国家知识产权局经复审认为,诉争商标整体是商品的常用包装七面视图,作为商标使用在指定商品上,消费者不易将其作为商标识别,不具有区分商品来源作用,整体缺乏显著性,已构成《商标法》第十一条第一款第(三)项所指情形,决定驳回诉争商标的注册申请。
费列罗公司不服国家知识产权局的决定,依法向北京知识产权法院提起行政诉讼。
根据商标法规定,下列标志不得作为商标注册: (一)仅有本商品的通用名称、图形、型号的;(二)仅直接表示商品的质量、主要原料、功能、用途、重量、数量及其他特点的;(三)其他缺乏显著特征的。前款所列标志经过使用取得显著特征,并便于识别的,可以作为商标注册。
原告费列罗公司主张,诉争商标独特的立体形状、颜色组合设计、中英文组合及内部的金色巧克力球使商标本身具有显著性,指定使用在第30类巧克力等商品上,并非行业通用包装物的立体形状,可以起到区分商品来源作用。同时,诉争商标中包含的英文、图片部分及内部巧克力球包装已被注册为商标,因此诉争商标整体具有显著性。
费列罗公司认为,作为世界知名巧克力制造商,其在世界范围内知名度极高。诉争商标经原告长期而广泛的宣传和使用增强了显著性,可以起到区分商品来源作用。“费列罗”“FERRERO”“FERRERO ROCHER”等商标的知名度为商标局、各地工商行政管理机关及最高人民法院等行政司法机关所认可,在中国已成为驰名商标。
被告国家知识产权局则答辩认为,诉争商标七面视图整体看,易被相关公众识别为商品包装,消费者不易将其作为商标识别,被诉决定认定事实清楚,适用法律正确。
据了解,费列罗金色巧克力球本身的包装已经注册为立体商标。现在,费列罗公司还想要把装巧克力的透明包装壳注册成立体商标。这样的立体商标“套装”还是比较少见。目前,该案正在进一步审理中。
来源:经济日报
“茶颜观色”告“茶颜悦色”侵权,法院:主观恶意明显,驳回诉讼!
20-4-14
在长沙,茶颜悦色有多火?为了买到茶颜悦色,有人会排队2小时;武汉小姐姐为了茶颜悦色一放假就往长沙跑;更有网友说:想为了茶颜悦色嫁给长沙帅哥。然而,近日“茶颜悦色”却被“茶颜观色”告上了法庭。
4月8日,岳麓区法院一审公开开庭审理了“茶颜观色”告“茶颜悦色”一案,“茶颜观色”注册商标专用权人广州洛旗公司以长沙“茶颜悦色”商标侵权为由,向长沙市岳麓区人民法院起诉,请求法院判令“茶颜悦色”商标注册人湖南茶悦餐饮管理有限公司及授权专用人等赔偿其各项损失21万元,并在微信公众号、微博、大众点评及美团外卖平台上致歉声明,消除不利影响。
当天下午法院当庭宣判:驳回洛旗公司的全部诉讼请求。
茶颜悦色与茶颜观色

“茶颜观色”注册商标专用权人为广州洛旗公司,自2017年3月开始推广“茶颜观色”品牌,2018年8月经受让取得注册商标“茶颜观色”、“茶颜”。商标核定使用的商品类别为43类,包括咖啡馆、自助餐厅、饭店、酒吧、茶馆等,目前尚在有效使用期限内。
2019年5月,洛旗公司在长沙开设了一家“茶颜观色”奶茶店。除在门头使用以外,其在店内装潢、饮品单、杯子、包装袋等物品上使用的商标标识均为“茶颜观色”的标识。以“茶颜观色”为关键词进行网络检索,在2013年长沙第一家“茶颜悦色”门店开业之前,检索不到“茶颜观色”相关商标使用信息。
而“茶颜悦色”,由国家版权局作品登记证书载明,“茶颜悦色文字”及“茶颜悦色图形”美术作品系吕良于2013年创作,登记日期为2017年5月。2013年12月,吕良在长沙开设了第一家“茶颜悦色”门店,并在茶饮料包装、店铺门头、店内装潢上使用了“茶颜悦色”标识。
之后,吕良授权湖南茶悦餐饮管理有限公司使用其美术作品。2015年10月至2018年3月间,茶悦公司先后申请注册了几个商标。商标核定使用的商品类别为30类,以茶、糕点、咖啡、茶饮料为主,有效期为十年。

经调查显示,“茶颜观色”的注册商标专用权是几经转让后,被洛旗公司获得。洛旗公司自2017年3月开始推广“茶颜观色”品牌,2018年8月经受让取得注册商标,商标核定使用的商品类别为43类,包括咖啡馆、自助餐厅、饭店、酒吧、茶馆等,目前尚在有效使用期限内。
最终,法院认为注册商标“茶颜悦色”在使用上,既未超出核定使用的范围,亦与注册商标“茶颜观色”不相近似,不易混淆。故“茶颜悦色”不构成商标侵权。而广州洛旗公司作为同行业竞争者,理应知晓“茶颜悦色”的知名度,但其仍受让使用注册商标“茶颜观色”,并以此作为权利商标对注册商标“茶颜悦色”提起商标侵权之诉,主观恶意明显,违反诚实信用原则,故洛旗公司诉讼请求不应得到法院支持。
罗永浩挑战带货一哥李佳琦,却输在商标布局上?
20-4-7前锤子科技创始人兼CEO罗永浩摇身一变成为带货直播,宣称要做带货一哥!

直播当晚,老罗全程直播3小时,支付交易总额破1.1亿,订单量90万,音浪收入362万,累计观看人数超4800万人,创下了抖音直播带货的新纪录。

老罗直播早有准备。3月19日,老罗发布微博称:“决定做电商直播,虽然不适合买口红,但相信能在很多商品的品类里做到带货一哥。”如此赤裸裸的挑战,怕是李佳琦的一哥地位不保啊。
老罗的首秀直播的数据是值得炫耀的,但是在整场直播过程中,老罗对于直播流程、产品介绍不熟练、拖沓等问题遭到不少观众的吐槽,比如直播期间口误将“极米投影仪”说成”坚果投影仪“,经工作人员提醒后,他表示对极米道歉。
虽然老罗直播首秀的带货成绩喜人,可是和李佳琦、薇娅相比商标布局可是差了一大截呀!
李佳琦商标保护

该公司从2019年02月20日开始注册“李佳琦”商标,到目前为止,申请的商标名称包含“李佳琦”、“李佳琦心愿节”、“李佳琦的店”、“李佳琦的小助理”“佳琦严选”、“OMG买它”等等。从商标注册的全面性来看,李佳琦还是非常有知识产权意识的网红主播呀!
薇娅商标保护
薇娅的商标保护意识是否到位呢?我们查询到商标网的信息显示,有关“薇娅”商标315件,“VIYA”商标135件,其中申请人多数为“广州薇蜜可思服饰有限公司”(以下简称薇蜜可思),企查查显示,该公司股东分别为董海峰和黄薇,其中黄薇是薇娅的原名。可以看出,薇娅也是很早就开始对个人商标的进行申请保护了。


从时间上看,薇娅名下公司薇蜜可思最早的申请记录可追溯到2017年9月5日,而李佳琦名下公司宁波镁麒最早的申请记录为2019年2月20日,相比之下,薇娅比李佳琦提前近两年意识到个人商标保护的问题。薇娅的商标保护意识也是非常值得称赞的呢!
老罗商标保护
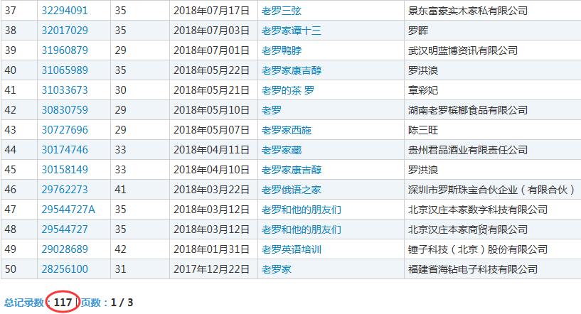
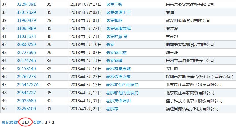
我们最后来看看,老罗的商标布局如何吧?关注老罗的小伙伴应该都注意到,罗永浩的商标在2019年10月就被光山县茗阳阁科技有限公司申请注册了,商标分类为烟草烟具,目前状态为等待实质审查。


除此商标外,老罗的商标申请各类别共计117件,前锤子科技公司注册的“老罗”相关的商标也才9件。说明老罗的商标保护意识非常薄弱,商标保护意识的缺失的确会使名人降低自身的商业价值。
名人、网红拥有超高的流量,商标非常容易被抢注。应及时维护自有品牌权益,才能避免被他人恶意抢注。
“王者荣耀”被抢注为酒商标,腾讯怒告国家知识产权局
20-3-20昨天,话题“王者荣耀被注册酒商标”冲上微博热搜,不少网民表示:给我来瓶82年的王者荣耀。
人气爆棚的“王者荣耀”被贵州问渠成裕酒业公司注册成为商标,腾讯公司因此起诉国家知识产权局要求对该商标的注册问题重新做出裁定。3.17日北京知识产权法院就涉及“王者荣耀”的商标权无效宣告请求行政纠纷案上庭进行审理。

2018年6月19日,腾讯对贵州问渠成裕酒注册的“王者荣耀”商标提出无效宣告请求。腾讯认为贵州问渠成裕侵犯了腾讯在先著作权,与腾讯公司第18126671号“王者荣耀”商标构成类似商品上的近似商标,易使公众误认等理由,依据相关规定,请求对贵州问渠成裕酒业注册的商标予以无效宣告,并且腾讯提交了《王者荣耀》著作权登记证书、游戏软件排名、获奖情况以及媒体报道等证据。

国家知识产权局认为,贵州问渠成裕酒业注册的“王者荣耀”商标与腾讯游戏“王者荣耀”构成近似商标。但是问渠成裕酒业商标指定使用的“果酒(含酒精)”等商品与腾讯商标使用的“电子出版物(可下载)”等商品在销售场所、服务对象等方面区别较大,未构成类似商品上的近似商标。

此外,国家知识产权局指出,“王者荣耀”为普通印刷体汉字,不能独立表达作品的思想和情感,不属于《著作权法》规定的受保护作品,问渠成裕酒业注册的相关商标未侵犯腾讯公司的著作权,亦未构成《商标法》中“以欺骗手段或其他不正当竞争手段取得注册”的行为。综上,对问渠成裕酒业注册商标予以维持。
庭审中,腾讯方面主张《王者荣耀》游戏是是腾讯2015年开发运营的游戏,该游戏知名度高并且受欢迎程度高。因此,问渠成裕酒业的注册商标容易导致相关公众误认为其经过腾讯公司许可或者与腾讯公司存在特定联系,损害腾讯公司对游戏《王者荣耀》的作品名称所享有的在先权利,违反《商标法》第三十二条规定。
腾讯还主张称,问渠成裕酒业的注册商标具有明显恶意,其还申请了一系列包含“王者荣耀”文字的商标,例如“王者荣耀归来”、“王者荣光”、“王者荣耀1+1”等。贵州问渠成裕酒业法定代表人还设立了“贵州王者荣耀酒业有限公司”,具有抢注商标并牟取不正当商业利益意图。腾讯请求依据相关规定,撤销贵州问渠成裕酒业注册的侵权商标。
目前,该案正在进一步审理中。



























