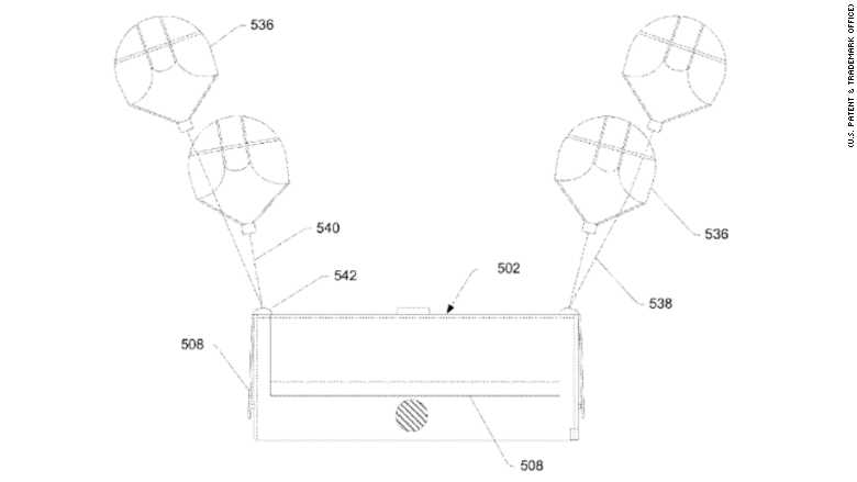
索尼申请新专利文件Vive-style PSVR跟踪设备
17-2-21索尼在试验自己的Vive-style VR追踪装置,根据专利申请从6月。文档暗示了一个跟踪器的工作类似于HTC目前的虚拟现实技术。功能作为外部投影仪,该设备将使用灯光和镜子地图直接进入PSVR玩家的真实世界的运动。目前索尼的VR提供使用相机来检测光从球员的耳机,现有的跟踪用户一个极小的空间限制。与光经常干扰PS4的相机,如果这种新技术使得生产它可能不仅给玩家更多的流动性,还提供更准确和身临其境的PSVR经验。
虽然仅仅是申请专利技术并不能保证会重见天日,索尼投资更加身临其境的PSVR体验是非常合理的。能够身体走动虚拟世界奇迹创造一种存在的感觉,如果它使市场,这种新设备可以帮助PSVR同技术完成万岁。
有趣的是,专利状态跟踪装置是无线,暗示它将连接到一个PS4通过蓝牙或无线网络。竞争已经宣布自己的无线外设,毫无疑问,索尼可能会追随他们的脚步。专利不给任何指示,然而,是否现有的跟踪是一个附加耳机或合并PSVR继任者的一部分。
PSVR去年10月被释放。自那时以来,索尼科技一直保持沉默,省略从年末销售数字新闻稿和未能宣布许多新书在最后一次会议的平台。然而有更多和索尼最近发布的包上架的PS4 Pro提供了明显的肿块在虚拟现实表现,这些专利有助于表明公司没有完成虚拟现实。
多措并举 推动商标事业发展
17-2-17日前,国家工商行政管理总局(下称工商总局)商标局(下称商标局)公布了2016年我国商标申请与注册统计情况,2016年我国商标申请量达369.1万件,连续15年位居世界第一。

据了解,2016年我国商标申请量同比增长28.4%,增速较2015年提高了1.5个百分点。其中,网上申请量显著增加,共有300.1万件,占申请总量的81.3%,所占比重较2015年提高了12个百分点。至2016年底,商标有效注册量达1237.6万件,每万户市场主体商标拥有量达1422件,比2015年底的1335件增长了6.5%。同时,截至2016年12月31日,商标局共备案商标代理机构总数为2.6635万家。
这些成绩的取得离不开背后的付出——2016年,根据中央关于深化改革各项决策的部署,工商总局本着改革创新、简政放权、放管结合和优化服务的原则,作出开展商标注册便利化改革的部署,一系列改革措施落地生根,成效明显。
商标申请呈现新特色
“支撑我国商标申请量快速增长的原因是多方面的。”中央财经大学法学院教授,首先最根本的原因是经济驱动,商标作为区别不同商品和服务的标识,承载着企业的创新成果、产品质量和商业信誉等,是企业的无形资产,其重要性被广泛认知,尤其自我国提出大众创业、万众创新以来,企业数量大幅增加,市场活力和发展动力被有效激发,我国的商标事业随之快速发展。其次,社会软环境也发挥了相当大的作用,通过多年来社会各界的广泛宣传,公众的知识产权素养逐步提升,企业的知识产权保护意识逐步增强,随着我国经济的快速、健康发展,企业的商标品牌意识显著增强。据《2015年中国知识产权文化素养调查报告》显示,从2008年至2015年,社会公众的知识产权综合素养指数增加了近25%,超过78%的公众赞同“尊重知识、崇尚创新、诚信守法”是知识产权文化的核心理念,有54.5%的被访者认为知识产权与工作(学习)生活之间的关系“非常密切”,超过83%企业认为知识产权是推动经济发展及技术进步的战略资源等。最后,商标注册便利化改革助推了商标申请量的增长,工商总局推行的商标注册便利化改革拓展了商标申请的渠道,简化了商标申请的手续,优化了商标申请的流程,完善了商标审查机制,加强了商标信用监管,还规定了一系列保障措施,这些都为商标申请人提供了诸多便利,为我国商标申请质与量的提升提供了保证。
据了解,2016年我国商标申请量前五名的省市分别是广东、北京、浙江、上海、江苏。对此杜颖认为,商标申请集中出现在东部省份的根本原因在于,东部省份的经济发展水平相对于中西部省份更为发达。东部地区产业集中,第三产业尤为发达,企业创新、创业氛围浓厚,这些因素共同促进了东部省份商标事业的发展。“经济越发达的地区,往往产业结构更为合理,知识转化为财产的途径更多、可能性也更大,因此东部省份的知识产权意识相对更强,对商标申请的需求也就越大。”
值得一提的是,2016年,我国商标网上申请显著增加,占申请总量的81.3%。“一方面,相比于纸质商标申请,网上申请更为便捷、经济。此前,商标申请人提出注册申请,需携带各种商标注册申请资料及证明材料,并必须到北京办理,如果资料不齐全,有些商标申请人甚至需要往返数次才能成功办理申请手续,给商标申请人带来诸多不便。实现商标注册网上申请,将极大提高商标申请、注册的效率,节约注册成本,免去商标申请人的奔波之苦。而且,根据《国家发展改革委、财政部关于网上商标注册收费标准及有关问题的通知》,网上受理商标注册费收费标准比纸质商标注册申请优惠20%,商标申请人何乐而不为?”,自2007年商标局向商标代理机构开通商标注册网上申请系统后,选择网上申请商标的代理机构越来越多,由此逐渐出现商标申请代理服务的电子平台化趋势,这种便捷、高效的模式反过来又进一步推动了网上申请数量的增加。
商标政策激发新活力
商标申请数量逐年增多,并呈现诸多新形式,离不开政策的引导。
据了解,2016年7月14日,工商总局发布了《关于大力推进商标注册便利化改革的意见》,以解决商标注册和管理存在的问题为导向,以实现商标注册便利化为主线,以拓展商标申请渠道、简化商标注册手续、优化商标注册流程、完善商标审查机制、加强商标信用监管为手段,进一步方便申请人申请注册商标,提高商标审查效率,提升商标公共服务水平,更好地发挥品牌引领作用,促进品牌经济发展。
2016年7月5日及6日,商标局相继在四川雅安、浙江台州两地开展试点设立商标受理处,代为办理商标注册申请受理等业务,方便申请人尤其是小微企业就近办理商标业务,为大众创业、万众创新提供了更加便捷、优质的服务。
为了贯彻落实《工商总局关于大力推进商标注册便利化改革的意见》,方便商标申请人办理商标注册申请,2016年10月30日,商标局批准13个工商行政管理部门和市场监管部门设立商标受理窗口,同年11月1日正式启动运行开展商标注册申请受理工作。受理窗口负责指定区域内商标注册申请受理、规费收缴,并接收、审核商标注册申请文件,对符合受理条件的商标注册申请确定申请日;受理窗口同时还代发商标注册证,提供查询和咨询等服务工作。这一举措为商标申请人就近办理商标注册申请业务提供了便利。设立地方商标注册申请受理窗口是工商总局大力推进商标注册便利化改革的一项重要举措,旨在方便商标申请人就近办理商标注册申请业务。
2016年12月1日,为了减轻商标申请人负担,为商标申请人提供更加优质的服务,首个京外商标审查协作中心即商标审查协作广州中心正式挂牌运行,开展注册商标申请现场受理、咨询、商标注册申请审查和商标法律法规宣传咨询服务,指导地方开展商标专用权保护,协调促进地方商标品牌战略实施等工作,将分担部分商标注册审查任务,尽可能缩短商标审查周期。
政策的引导不仅如此,为了适应我国商标法进行的第三次修正,进一步规范和做好商标审查和商标审理工作,在广泛听取各方意见、借鉴国外审查标准的基础上,结合多年商标审查、审理实践。2016年12月,商标局和国家工商总局商标评审委员会对《商标审查及审理标准》进行了修订。此次修订新增了声音商标审查标准、审查意见书在审查实务中的运用标准、我国现行商标法第十九条第四款的适用标准、我国现行商标法第五十条的适用标准、我国现行商标法第十五条第二款的审理标准、利害关系人的认定标准,并针对我国现行商标法第十条的部分修改对审查标准进行了相应修订,同时删减、新增了部分审查案例,丰富、完善了商标审查和审理标准的内容。
而为了继续深入推进商标注册便利化改革,增强全社会商标意识,提高商标注册申请质量,方便商标申请人申请注册商标,更好维护商标申请人权益,商标局以我国现行商标法和商标法实施条例为主要依据,将商标申请人普遍关注、与商标申请人切身利益密切相关的问题绘制成卡通画册,并于2016年12月12日开始向社会公众免费赠阅。
2016年12月30日,商标局发布《关于改进商标注册证发文方式和内容版式等事宜的公告》。为了便利商标申请人,商标局改变了直接申请注册商标商标注册证发放方式,直接提交或网上提交申请注册的,商标局直接向商标申请人寄发商标注册证;商标申请人自2017年1月1日起直接提交或网上提交的商标注册申请,该商标核准注册后,商标局将向商标申请人直接寄发商标注册证(通过地方受理点提交的注册申请,其商标注册证由受理点代发)。同时,为便于注册证的展现和使用,大幅压缩打印时间,提高发证效率,商标局调整了商标注册证的内容版式,将双面打印调整为单面打印。
亚马逊专利无人机交付方法,使用降落伞丢
17-2-16
亚马逊不打算抽烟。 相反,电子商务巨头正在寻求使用无人机完全重新定义交付机制。 该公司已经完成了在英国的第一个成功的无人机交付 ,现在陷入了与监管者的实际,技术和法律斗争。 但是,这并不妨碍亚马逊的创新和技术发展的步伐。专利
电子商务巨头已经展示了其包括库存和自主无人机用于运送货物的飞行仓库的奇怪想法 。 但是, CNN报告说,美国专利和商标局已经授予亚马逊一项新的专利,使用新的方法将包裹运送到地面。 这涉及使用降落伞将包装从自主无人机中释放,其可以被引导到正确的位置。
该专利申请建议亚马逊不寻求触摸基地,即发送包裹使用无人机的帮助下的交付位置。 相反,它计划让他们徘徊在客户的房子,并使用他们的新的交付方法,使高效和及时的交货。 公司将部署包
亚马逊认为,无人机消耗更多的精力和时间,如果它必须着陆和起飞来交付。 它还需要着陆在开放的庭院样地区,以避免与附近的人,狗或其他物体的碰撞(传感器应该防止)。 因此,在该专利中已经说明,亚马逊将部署包“在高度”和“在下降期间监控和调整包裹轨迹” 。
该公司在该专利中说,无人机将监测释放的包装的轨迹,以确保它们到达所需的着陆位置。 如果不是,就像有一条电源线或树之间,亚马逊计划使用降落伞,弹簧圈或爆炸的压缩空气来调整包中间飞行位置。 还存在包括着陆襟翼的可能性,该着陆襟翼当包装接触地面时将软化包装的着陆。
这个专利是公司努力用他们的Prime Air无人机送货服务征服天空的最新发展。 该公司成功地完成了在剑桥的第一次商业交付(在那里它被允许在郊区进行试验)。 它交付了包装,一个火电视和一袋爆米花,在只有13分钟。 但是,无人机必须降落到包含所述产品的黑盒子。 虽然这个想法目前只在纸上,我们可以看到降落伞在未来几个月内部署无人机交付。
没有怀疑的事实,亚马逊没有积极推动商业化无人机交付 - 超出英国它希望使这成为现实,并已经开始通过超级碗广告,这表明所述交付机制可以成为一个广告城市友好解决方案。 Alexa给我一包来自Prime Air的Doritos! 给这个命令将是如此神话。
个人如何申请专利
17-2-14专利不光是对企业有巨大的商业价值,就个人而言也是意义非凡,它可以成为大学生毕业求职考研的重要筹码,职场人员评职晋升的主要条件等等。所以专利对企业或个人都很是需要。那么个人如何申请专利呢?
首先在申请专利前先要确定自己要申请的专利类型。专利分为:发明专利、实用新型专利、外观设计专利。不同类型的专利所要提交申请资料、审批流程也各不相同。
申请需要准备的资料:
发明专利需准备的资料包括:发明专利请求书、说明书(必要是需要有说明附件)、权利要求书、摘要及其附图各一式两份。
实用新型专利准备资料包括:实用新型专利请求书、说明书、说明书附件图、权利要求书、摘要及其附图各一式两份。
外观设计专利准备资料包括:外观专利请求书、图片或照片各一式两份,有要求保护色彩的需提交彩色及黑白图片或照片各一份。如需要对图片或照片做说明的,需提交外观设计简要说明一式两份。
专利申请部门:在我国专利的唯一授权部门是国家知识产权局,当然知识产权局在各地设有代办处。
申请专利的途径:
1、直接到国家知识产权局直接申请或通过挂号邮寄文件申请方式申请专利。(专利申请文件有:请求书、说明书、说明书附图、摘要附图)
2、委托专利代理人代办专利社情,采用这种方式,专利申请质量较高,可以避免因申请文件撰写质量问题而延误审查和授权。
个人如何申请专利?总的来说就是先确认申请类型,准备申请资料、向专利审批机构递交申请、等待审批。当然申请专利需要缴纳申请费,也存在一定的申请风险,不是申请了就一定能够成功。
知识产权“贯标”,你真的懂吗?
17-2-14当前,我国进入了经济发展新常态,对知识产权运用和保护提出了更高的要求。无论是从我国经济社会发展的需要来看,还是从知识产权强国建设的要求来看,都需要运用标准化手段,进一步夯实知识产权宏观管理基础,提升各类创新主体的知识产权综合能力,推进知识产权服务业健康发展,更好地支撑创新驱动发展和经济转型升级。知识产权贯标

在以“资源整合”为基础的“开放式创新”环境下,知识和技术的流动加速,有效地管理以知识产权为核心的知识资源成为实现创新的重要影响因素,甚至是决定因素。运用标准化手段加强以知识产权为核心的知识资源规划和管理,已经成为现代化国家巩固和提升综合竞争力的战略选择。
推动企业用标准化的形式
进行有效的知识产权管理
商业方法因为属于智力活动被排除在专利保护的大门之外,那么其知识产权能获得保护吗?像可口可乐配方这样的技术秘密因为不能公开无法申请专利,该怎么办?传统知识产生年代久远,并且大多已经公开,权利主体又不明确,还能保护吗?
“现在,对这些暂时缺乏法律保护的领域,可以先用标准化的形式进行有效的管理。”国家标准委相关负责人说。作为现代管理的标志,标准化管理是知识产权管理标准化,是使政府管理与市场经济接轨的新模式。
今年2月13日,全国知识管理标准化技术委员会成立。国家知识产权局局长申长雨指出,知标委的成立是我国知识管理标准化发展历程中一件具有里程碑意义的大事,是运用标准化手段,加强知识资源战略管理的重大举措,对于实现知识产权战略与标准化战略融合发展,建立健全我国知识产权领域的标准体系,提升知识产权综合能力,推动中国制造向中国创造、中国速度向中国质量、中国产品向中国品牌转变具有重要意义。事实上,2013年3月1日,我国第一部企业知识产权管理国家标准《企业知识产权管理规范》已由国家标准化管理委员会批准颁布实施。此后,企业“贯标”成为知识产权管理和标准管理部门着力推动的工作。
“知识产权管理原来不仅仅限于研发部门啊!”这是很多企业参与贯标以后发出的感慨。中国企业在“走出去”的过程中,因只重视研发的知识产权理念和漏洞百出的知识产权管理体系,成为竞争对手的攻击目标。
“我国高端酒瓶盖制造市场差点因为没有专利权被国外企业占领,海普海外专利权诉讼虽然取胜,但也警示我们只重视研发是不够的。”烟台海普制盖有限公司的管理者表示,“知识产权关乎企业生死不是危言耸听,贯彻实施《企业知识产权管理规范》,使企业知识产权管理工作逐步走向规范化、标准化。”
“现在,越来越多的中国企业进入海外市场,但国外对中国企业的知识产权状况还缺乏信任,这就需要一个公认的方法评估企业的知识产权风险;另外,中国企业对知识产权的管理一般依靠经验,管理者的水平决定了企业知识产权管理的水平,缺少一套完整的标准体系对管理加以规范;即使是知识产权做得好的中国企业,也大多关注于研发环节,实际上从方案设想到采购、试制、生产、销售、售后都是创造和形成权利的过程,如何让企业尽快具备知识产权的管理能力,应对激烈的竞争?标准加认证是最符合国际通行做法的模式。”国家知识产权局专利管理司马鸿雅处长为记者解读我国推行贯标的初衷和逻辑,“通过第三方认证机构对企业知识产权进行测评,并予以认证,供用户采信,政府对第三方负监管责任,并通过制定标准对企业进行引导。”
用标准化手段去加强
知识资源战略规划和管理
济南圣泉集团是一家生产生物质基础材料的企业,企业在向外延伸的过程中,一直受困于国外专利的封堵,“过滤器”就是一大“路障”。2014年,知识产权贯标服务机构“国之预警中心”在检索的基础上,对专利圣泉关注的专利稳定性进行了分析,发现了一系列问题,包括权利要求不清楚,权利要求得不到说明书的支持,权利要求不具有新颖性、创造性等,并采用不同的现有技术证据组合对其创造性提出了质疑。同时,专利性分析报告中还对专利的各国同族专利审查情况进行了归纳汇总,分析了该专利部分权利的可行性,为企业实施方案预留更多的空间,同时,建议企业结合经营发展战略提出专利无效宣告请求。国之预警中心对“碳质过滤器”的专利侵权风险排查,出具了国外侵权风险分析的初步意见和风险化解建议。
“过滤器项目如何突破国外专利的壁垒已困扰公司多年,国之预警中心为我们找到了无效专利的可能性,为产品进入国外市场发现了突破口。”
经过30年发展,我国积累了数量庞大、全球首屈一指的知识产权资源。然而,知识产权制度的运行效率依然不高,知识产权的运用转化效率远远低于其他创新经济体,制度的能量远远没有释放,原因何在?
国家知识产权局副局长贺化认为,我国知识产权制度运行效率不高的主因在于制度体系存在短板——体系支撑能力不足。他认为,运用标准化手段去加强知识资源战略规划和管理,可以从三个维度去把握:第一,规范的对象是知识资源,是创新时代最重要的战略资源;第二,运用的手段是标准化手段,是行之有效的知识资源管理的重要手段,是转变政府职能、实现国家治理体系和治理能力现代化的必要手段;第三,运用标准化手段强化知识资源的规划和管理,将知识资源这一核心资源与标准化这一重要手段紧密结合。
进入21世纪,英国、美国、加拿大、欧盟、澳大利亚等国家和地区相继成立知识管理标准化组织,欧盟设立“创新管理标准化技术委员会”,英国、澳大利亚等国设立“知识管理标准委员会”,负责知识产权标准相关工作。美国、德国也成立相应组织,致力于知识管理方面的标准化工作。“我国的知识产权贯标工作是符合我国现阶段发展和需求特征的模式。”
国家标准委主任田世宏认为,通过知识管理标准化,对知识产权的信息利用、风险预警分析、质押融资、知识产权交易、价值评估、专利许可等进行规范,建立知识创新的秩序,营造创新发展的良好环境。
创新全过程管理与以知识产权
为核心的知识管理密切相关
国际标准化组织于2013年5月成立了ISO/TC279创新管理标准化技术委员会,是目前创新领域唯一的国际标准化组织,该组织的设立对在全球范围整合优化创新过程管理意义深远。全国知识管理标准化技术委员会成立后,国家知识产权局和标准委的相关部门将与其对接国内技术业务。
创新全过程管理与以知识产权为核心的知识管理密切相关。ISO/TC279的标准化范围涉及创意管理、知识产权管理、专利评估、创新思维、战略情报管理、研发创新管理等,与知识管理标准化技术委员会负责修订的标准领域高度吻合。
全国知识管理标准化技术委员会负责修订的标准领域包括:知识产权管理、传统知识保护和管理、组织知识管理。“知识管理”是将知识产权、传统知识、组织知识等知识资源作为战略资源进行规划和管理的理论方法体系。据相关负责人介绍,全国知识管理标准化技术委员会作为国际标准化委员会对口联系单位,事实上是一个增强标准国际话语权的“突破口”,是标准输入、输出的关键通道。一方面可以积极跟进国际知识管理标准化动向、积极引进创新领域先进国际标准;另一方面,推进我国的知识管理标准制定、推行与国际互认,发挥知识管理标准在中国标准“走出去”战略中的积极作用。
“除了企业的贯标工作,知识管理标准化技术委员会下一步还将制定高校、科研机构、社会服务机构的知识产权管理规范,对3个创新主体和1个服务主体全部覆盖。”
日本专利申请
17-2-13【日本专利法律制度】
日本于1885年制定了专利法,日本对专利法作了多次修改,其中1993年修改的主要内容是采用
了实用新型专利申请无审查登记制度,即不再对实用新型申请进行实质审查,实用新型专利权权利期限
由以前的10年改为6年(1994年1月1日实施)。现行的日本专利法于2012年4月1日生效。
【日本专利特点】
(1)实用新型专利,申请人须于提出申请前针对该新型之可注册性进行检索。如申请人未能履行此义务,其将无法主张该新型专利权。
(2)日本的外观设计采用了局部外观设计注册制度,对某些具有局部特征的形态、形状,允许注册
局部外观设计。如果运用这种新的局部外观设计注册制度,在注册了有特征的部分之后,遇到第三者采用了该有特征的部分,尽管整体不同,也能起诉其侵权。
(3)计算机软件可在日本获得发明专利。
【日本专利类型】
1、发明专利:针对产品结构、方法、工艺流程或工艺参数改进所提出的新的技术方案。发明专利自申
请日起20年(医药品和农药可最多延长五年)。
2、实用新型专利:针对产品的形状、构造或者其结合技术特征改进提出的适于实用的新的技术方案。
无实质审查,一般申请日后6个月可授权,实用新型专利自申请日起6年。
3、外观设计:针对产品的形状、图案或者其结合以及色彩与形状、图案的结合所作出的富有美感并适
于工业应用的新设计。外观设计的保护期自注册之日起为15年.
【日本专利年费】
1、发明专利在办理登记手续时缴纳前3年年费,自第4年起开始每年缴一次年费。
2、实用新型专利在办理登记手续时缴纳前3年年费,自第4年起开始每年缴一次年费。
3、外观设计在办理登记手续时缴纳前3年年费,自第4年起开始每年缴一次年费。
【日本专利审查制度】
1、发明专利和外观设计采用先申请原则、早期公开原则、请求审查原则。
2、实用新型采用登记制,无须实质审查即可获得专利权,5-7个月内准予注册。
韩国专利申请
17-2-13【韩国专利法律制度】
韩国第一部专利法于1946年诞生,1977年在原专利局的基础上组建韩国工业产权局(KIPO)。韩国政府于1949年5月23日设立专利局,隶属韩国商工部管辖。1976年韩国《政府组织法》修订后,1977年在原专利局的基础上组建韩国工业产权局(KIPO)。韩国的发明专利法和实用新型法的修改方案于2006年生效并适用至今。
【韩国专利特点】
1、加速审查制度
以下类别的专利申请可以要求加速审查:
(1) 在专利申请被公布后,申请人发现本发明已经被他人用于商业目的;
(2) 专利申请已经被公布后,
(ⅰ)和国防工业相关的产品及其制备过程,具体产品目录由国防工业的特定规定所定义;
(ⅱ) 和防止环境污染相关的产品及其制备过程;
(ⅲ) 直接和出口有关的;
(ⅳ) 由中央政府,当地政府或由中央政府或当地政府资助的研究院的职工做出的发明。
希望加速审查的申请人必须提交一书面要求,详细说明其必要性,并提供所有支持该要求的证据。
2、实用新型实质审查授权登记制度
从2006年10月1日起,对实用新型采用了实质审查制度。初步形式审查要求合并入实质审查授权要求中。
3、新修韩国《专利法》
(1)宽限权利要求书提交日期。申请人在递交专利申请日无需提交权利要求书,仅需提交一份发明的详细说明书,但必须在自递交申请日或优先权日起18个月内提交与说明书描述相一致的发明的详细权利要求书。
(2)放宽说明书的记载内容。申请人无需在说明书中对发明的目的、构成和效果进行分别描述。若某些发明在无需对上述款项逐一描述的情况下,能够得到更加清晰简明的陈述,则无需采用规定表述方法。
(3)增强对权利要求审查的制度化。审查员应本着认真负责的态度对每个存在驳回理由的权利要求详细阐明依据条款,让申请人能够一目了然每项权利要求被驳回的理由。
【韩国专利类型】
1、发明专利:是指利用自然法则对产品、方法或者其改进所提出的具有高水准的新技术方案;
保护期限:自申请日起20年,关于农药或医药,在一定条件下可以延长保护,最多延长5 年。
2、实用新型专利:是指对产品的形状、构造或者其结合所提出的适于实用的新技术方案。实质审查制度,在申请日起3 年内提出审查请求。
保护期限:自申请日起10年。
3、外观设计专利:是指“对产品的形状,图案,色彩或其结合所作的富有美感的设计”。因此外观设计是必须包含在产品上的,该术语“产品”通常是指一切实在的,可移动的和独立物品。
保护期限:自申请日起15年。
【韩国专利年费】
1、发明专利在办理登记手续时缴纳前3年年费,自第4年起开始每年缴一次年费。
2、实用新型专利在办理登记手续时缴纳前3年年费,自第4年起开始每年缴一次年费。
3、外观设计在办理登记手续时缴纳前3年年费,自第4年起开始每年缴一次年费。
【韩国专利审查制度】
1、发明专利采用先申请原则、早期公开原则、请求审查原则和授权后异议制。形式审查通过后自申请日或优先权日起18个月自动公布或根据申请人要求在申请日起18个月内进行公开。申请人必须在从申请日起5年内提出实质审查请求。如果申请人未在上述期限内提出实质审查请求,该专利申请将被视为撤回。
2、实用新型采用先申请原则、早期公开原则、请求审查原则和授权后异议制。申请人提出申请后,先进行形式审查,审查通过后自申请日或优先权日起18个月后进行公开,或根据申请人要求在申请日起18个月内进行公开。申请人必须在从申请日起3年内提出实质审查请求。如果申请人未在上述期限内提出实质审查请求,该专利申请将被视为撤回。
3、外观设计采用无审查注册制,即进行初步审查(形式审查),然后做出注册授权决定,缴纳登记费后,就授予专利权;在授权公告后有3个月的异议期。
欧洲专利申请
17-2-13【欧洲专利法律制度】
欧洲专利是由欧洲专利局根据《欧洲专利公约》(”European Patent Convention”,简称”EPC”)审查并授权的,可以在其成员国生效的发明专利。欧专局的总部位于德国慕尼黑,在荷兰海牙和德国柏林设有可以处理专利申请的分部。
目前,EPC包括38个成员国,分别为阿尔巴尼亚、奥地利、比利时、保加利亚、瑞士、塞浦路斯、捷克、德国、丹麦、爱沙尼亚、西班牙、芬兰、法国、英国、希腊、克罗地亚、匈牙利、爱尔兰、冰岛、意大利、列支敦士登、立陶宛、卢森堡、拉脱维亚、摩纳哥、马其顿、马耳他、荷兰、挪威、波兰、葡萄牙、罗马尼亚、塞尔维亚、瑞典、斯洛文尼亚、斯洛伐克、圣马力诺和土耳其,其包含了欧盟所有的28个成员国。另外作为扩展国,波黑和黑山也承认欧洲专利在其国内的效力。
欧洲专利的有效期为自申请日起20年。EPO仅负责欧洲专利的审查、授权和异议,对于欧洲专利的维持(专利年费50%上交EPO)、行使、保护,以及他人请求宣告欧洲专利无效,均由各指定国依照本国专利法进行。
【欧洲专利保护特点】
★ 一项欧洲专利申请,可指定多国获得保护。一项欧洲专利可在任何一个或所有成员国中享有国家专利的同等效力。以简化在多国单独提交专利申请的手续,节省开支,方便申请人;
★ 欧洲专利是按照统一的法律审查批准的。不会因为各国专利法在程序和审查要求的不同而造成不同后果,给申请人以安全感;
★ 欧洲专利审批的效率和质量有保证,要比逐个国家申请程序既快又节省开支,特别是商业上能提高发明的价值;
★ 欧洲专利局采用英、法、德三种语言,对申请人有较大的选择使用语言的自由,从而也减少了逐一国家以不同语言申请的费用;
★ 欧洲专利局采用检索与审查分开进行的程序,既有利于申请人对专利申请及时处理,也有利于国际专利合作条约的协调,方便了提交国际专利申请的申请人。
【欧洲专利的申请程序】
(1)提出申请和对专利申请的形式审查
申请人可以英、法、德三种官方语言之一向EPO提出申请。
(2)检索请求及检索报告的公布
在提交申请时必须提出检索请求及缴纳检索费。对于主张外国优先权的申请,大约1年内可收到检索报告。
(3)公布专利申请
对于通过《巴黎公约》途径提出的欧洲专利申请,EPO将于自优先权日起18个月内公布专利申请。
对于通过PCT途径提出的欧洲专利申请,如果PCT公开的语言不属于EPO规定的官方语言,则该申请将以所提交的欧洲专利申请的语言公开。如果PCT公开的语言已属于EPO规定的官方语言,则该申请不需重复公开。
(4)提出实质性审查请求
对于通过《巴黎公约》途径提出的欧洲专利申请,申请人应在EPO检索报告公布日起6个月内提出实质审查请求,同时需从EPC缔约国中指定具体成员国,并交纳审查费和指定费。
对于通过PCT途径提出的欧洲专利申请,申请人应在提交欧洲专利申请的同时提出实质审查请求,同时需从EPC缔约国中指定具体成员国,并缴纳审查费和指定费。如果缴纳7份指定费,EPC的全部缔约国都可被指定。但延伸国的指定费需单独交纳。
(5)实质性审查
在提出实质审查请求后进入实审程序,申请人通常在提出实审请求后1-3年内收到EPO的审查意见。对于每一份申请文件,实质审查部门中相关领域的审查员将组成三人审查小组,该小组由第一审查员、第二审查员和组长组成。第一审查员主要负责分析申请文件,撰写审查意见通知书,分析申请人的意见陈述和对申请文件所做的修改,建议授权或决定驳回。第二审查员主要负责检查第一审查员提出的授权或驳回的建议,检验将被授权的最终文本的形式是否正确,同意授权或驳回,或者将申请文件连同本人的意见一并返回给第一审查员。组长的主要职责和工作内容为检查第一审查员做出授权或驳回建议的法律依据和技术方面的理由,对申请文件的最终文本做详细检查,同意授权或驳回,或者将申请文件连同本人意见一并返回给第一审查员。
(6)授权、驳回和异议
经上述审查后,如果至少两名成员认为该申请符合EPC的要求,则该申请可被授权。申请人选择同意授权文本并允许本申请进入授权程序,或对文本或权利要求做一定的修改,同时付授权费并递交权利要求的其他两个语种的翻译译文。另外,需查询是否已经提交优先权证明文件的译文。上述工作完成后,欧洲专利被正式授权并发出授权证书。
如果三人小组考虑驳回该申请,则需告知申请人该申请将被驳回。在答复审查意见时,申请人通常是根据审查员的意见进行辩驳或修改申请文件,也可要求启动口头听审程序,进行面对面的意见陈述。如果审查小组中至少两个成员仍然未被说服,则该申请将被驳回。
授权决定做出后,异议期为自授权公告日起9个月。异议审查小组由三人组成,其中只有一人是原审查员。在欧洲专利被授权后,除专利权人以外的任何人可提出异议。
在欧洲专利申请程序中,申请人可对受理处、审查部、异议部或法律部所作出的决定提出上诉。此外,在欧洲专利的授权公告日起9个月后,由生效国的专利局自行处理无效请求。
(7)生效
一般在收到授权通知后,申请人就必须决定在指定国名单中选择生效国。根据各生效国的规定,通常都需要将专利的全部内容翻译成该国的语言,并提交给该生效国。欧洲专利组织成员国需在授权公告起3个月内完成翻译工作并在各国生效。如果申请人未在期限内提交译文,则丧失在该国的专利权。
(8)维持
完成在不同国家生效的工作后,申请人则拥有不同国家的专利,他们相互独立,每一件都需缴纳年费。
美国专利申请
17-2-13【美国专利法律制度】
美国专利制度迄今已有200多年历史,其创建可以追溯到美利坚合众国创立之初。美国专利法于
1790年4月10日由美国总统签署,多次修改后,现行的美国专利法于2011年9月16日生效。
【美国专利特点】
(1)采用“发明原则”,即不同当事人就同一内容的发明申请专利时,发明在先者有权获得专利;
(2)采用“发明人”制度来确认专利申请人资格。即提交专利申请人必须是发明人本人。即使是雇员发明,也由雇员发明人申请专利权,专利权取得以后,再转让于雇主;
(3)采取“即时审查制”和“不公开审查制”,即由专利局独立进行发明专利性的审查,专利局对发明申请既进行形式审查又进行实质审查,审查过程排斥第三者参加;审查材料和申请文件处于保密状态,只有颁布专利权以后,才公开专利申请文件;
(4)建立职责分明的保护专利司法机构,在美国,一般专利诉讼案件由联邦地区法院受理,巡回上诉法院负责上诉审。对外国人提起的专利诉讼案件由哥伦比亚特区的联邦区法院受理
【美国专利类型】
1.发明专利 (Utility Patent)(美国没有实用新型专利),有功能的发明才可以申请发明专利。可申请的发明包括:程序(Process)、机械(Machine)、产品(Article of Manufacture)、组成(Composition of Matter)。其中,程序可为方法(Method)或上述发明的新使用方法(New Use)。发明专利的保护范围是由专利中的权利项所界定,只要竞争对手的产品在权利项所界定的保护范围中,即使产品不与专利内容部分所描述的发明(发明的实施例)一模一样,仍可能够成侵权。保护期自申请日起20 年。
2. 新式样专利 (Design Patent) ,必须为外观上的设计才可以申请新式样专利。新式样专利保护的范围主要限定在专利中所绘示出的物品外观部分。由于对手很容易经由改变设计而回避新式样专利,因此,相较于发明专利,新式样专利的保护范围显得较狭窄。保护期自获准日起14年。
3. 植物专利 (Plant Patent),通过植物专利保护无性繁殖的新品种,但不包括块根、块茎植物。保护期限自申请日起20年。
【美国专利年费】
1、发明专利年费分3次缴纳,第一次在授权后第3-3.5年缴,第二次在授权后第7-7.5年缴,第三次在授权后第11-11.5年缴。
2、外观设计在授权后无需缴纳年费。
3、植物专利在授权后无需缴纳年费。
【美国专利审查制度】
1、发明专利采用实质审查制度,自申请日起18个月即行公开,可申请提前公开。审查周期约为2.5-3年。一般约3-5年授权。
2、外观设计采用实质审查制度,一般1至1.5年授权。
3、植物专利采用实质审查制度。
香港专利申请
17-2-13【香港专利法律制度】
1997年7月1日香港回归祖国,成为中华人民共和国的一个特别行政区。但是,由于香港实施的是特别行政区基本法,香港特区有本身独立的专利制度,在中国大陆的知识产权,并不会自动在香港地区生效,如须得到在香港地区的知识产权保护,还须依据新的香港知识产权法例办理相关手续。
香港新《专利条例》于1997年5月28日获立法局通过并于6月27日实施。香港立法局于1997年6月4日通过新《注册外观条例》,其旨在于设立一种无需实质审查的注册外观制度。
【香港专利特点】
1.中国的发明专利及实用新型专利均可在香港申请注册为短期专利。
2.香港标准专利一经批准即具有独立性,不受原指定专利法律状态变化的影响。 1997年6月27日以后公开的中国发明申请都可以申请香港标准专利。
3.香港外观设计与中国的外观设计专利近似,但根据香港法例香港外观设计不属于专利范畴,是一独立权利。外观设计必须是工业产品,一个申请可以包括多项外观设计。已注册的外观设计自第一次销售使用之时起,同时享受25年的版权保护,可注册但未注册的外观设计则只能享受15年的版权保护。
【香港专利类型】
1.标准专利:指由指定的专利局审查授予的发明专利,再在香港注册并授予的专利。被指定的专利局有中国专利局、英国专利局和欧洲专利局。标准专利的保护期为自原指定专利的申请起20年。
2.短期专利:由香港知识产权署直接受理,形式审查合格后即予授权。但申请短期专利时必须递交一份由指定专利局出具的检索报告。短期专利的期限为自申请日或优先权日起4年,并可续展4年。
3.外观设计:在香港是通过《注册外观设计条例》来保护的。香港知识产权署直接受理外观设计申请,并且不经实质审查即予授权。外观设计注册的申请可以享受在先申请的优先权。外观设计的保护其为自申请日或优先权日起5年,可续展4次,每次续展5年,最多可保护25年。
【香港专利年费】
1、标准专利可在第3年届满后每年续期一次,有效期最长达20年。
2、短期专利的首段有效期为自申请日起4年,届满后可每年续期一次,有效期最长达8年。
3、外观设计的首段有效期为自注册申请提交日期起5年,之后可以每次续展5年,有效期最长达25年。
【香港专利审查制度】
1、标准专利参照指定专利局的审查结果并采用形式审查制度。
2、短期专利采用形式审查制度。
3、外观设计采用形式审查制度。

